高压变频器品牌(国产高压变频器的应用)

作者主要介绍了高压大功率变频器在中石油泰安压气站的应用情况。概述气压站工艺特点、VSDS系统结构,多电平优化设计,及大功率高压变频主要难点技术。通过现场调试时数据、使用效果论述了高压大功率变频的特点。
大功率交流电机变频调速装置是国家积极鼓励发展的重大核心装备。中石油在天然气的长输管道输气冀宁管道南段增压工程中电机驱动首次采用国产化高压变频电驱系统对于体现中国的科技创新具有标志性意义。
泰安压气站位于泰安市岱岳区道朗镇,是联络西气东输一线、陕京二线两条供气主干线的增压站,是冀宁管道和西二线联络线,是山东中油的首站,即三站合一、网络化输气管道的重要枢纽站。承担着向河北、山东、江苏供气以及两大输气干线调配气量的重任,对于优化整个管网运行和保障天然气供气起到举足轻重的作用。
1 系统构架
新建泰安压气站建设是工程主要内容,泰安站配置2套电驱压缩机组、2套电驱压缩机的变频驱动PDS系统。系统由两台压缩机组,每套机组由1套9MVA/6kV变频器(变频器采用10kV输入,6kV输出)、1台单机功率为7.1MW/6kV正压防爆异步电机、1台5.323MW压缩机构成。其中,变频器采用无速度编码器矢量控制。系统框图和主要设备如图1~图3所示。

图1 中石油泰安站系统框图

图2 变频器控制柜、变压器柜及功率柜

图3 空气压缩机组
2 压气站工艺
泰安压气站设备众多,工艺复杂。主要由冀宁管道进站阀组区、工艺装置区、外输气交接计量区、山东管网泰安首站出站阀组区、西二线泰安联络站工艺装置区、燃驱压缩机区、电驱压缩机组区、放空区、变频装置等构成。
站内工艺流程主要包括:接收冀宁线、平泰线上游来气通过压缩机组增压后输送至下游的增压流程、为山东管网分输的分输流程及冀宁线与平泰线之间的正反输流程等12种工艺流程。系统流程图如图4所示。
京二线和西气东输管道是我国两大供气干线,冀宁管道作为两大管道系统的联络管道,若两大管道系统任何一方发生事故时都起着重要的调配作用。
泰安压气站以北管道发生事故时,陕京系统气源被切断,可以采用西气东输二线泰安支干线代输陕京系统的部分天然气,满足冀宁管道南段的正常输气;在西气东输二线泰安支干线管道发生事故时,西气东输二线天然气被切断,此时可以采用陕京线系统代输西气东输二线部分天然气,满足冀宁管道南段正常输气任务。
也可以通过改变泰安压气站内的压缩机组出口压力等性能参数调节气量,保障冀宁管道、山东中油、西二线平泰支干线沿线的用气需求。

图4 系统工艺流程图
3 系统方案
3.1 VSDS系统总体方案
VSDS系统包括:输入移相整流隔离变压器,中压变频器,6kV/7.1MW正压防爆(ExpxⅡT3)额定转速1500r/min异步电动机及其配套控制,变频器和电机的冷却装置,保护设备,现场控制盘等。
整个VSDS变频调速驱动系统按具有1.1倍的过载能力设计。工程设计电机的一阶临界转速为2300r/min,高于额定转速125%。为了保证电机在临界以下转速运行,设计变频器输出上限封锁频率低于电机2300r/min对应的频率。VSDS系统概况如图5所示。

图5 VSDS系统方案图
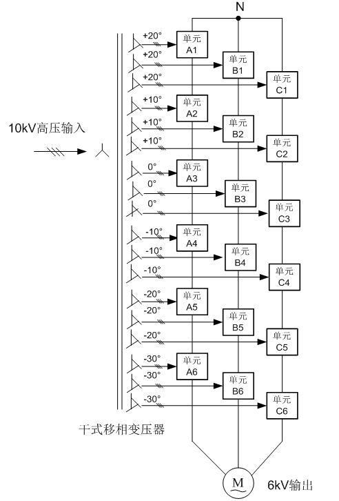
3.2 多电平变频器优化设计
功率单元串联叠加多电平中压变频装置的主电路如图6所示。电压等级从VSDS系统角度优选为6kV,优化后电路结构设计为每相6个(5+1冗余)功率单元串联,5个单元工作,1个单元冗余热备,此设计专为压气站工业现场设计可具备特殊性能:(1)抗高电网偏差和波动;(2)单元故障时可实现不停机,变频控制系统自动控制冗余热备单元投入工作故障单元旁路退出。
每个功率单元就是一个三相输入、单相输出的交—直—交 电源型变频器(H桥IGBT变频器)。10kV电网电压经过二次侧多重化的隔离变压器移相后向每个功率单元提供三相交流工作电源,将相邻功率单元的输出端串接起来,形成Y 联结构,实现变压变频的高压直接6kV输出,供给高压电机。不存在电网谐振,系统设计简单,无需任何附加电容滤波装置或补偿装置;
因为供电电网系统是感性,若在电源母线配置电容滤波装置则存在引起电网谐振的可能。因为本投标所配置的VSDS系统采用36脉波整流已经消除了变频器运行时对电网的谐波污染不需要额外配置电容滤波装置进行谐波治理,不存在电网谐振。同时也简化了系统设计,节约了滤波设备的土建等投资。

图6 系统拓扑结构图
3.3 控制保护和监测系统
变频装置控制系统作为一个子系统整体纳入相应压缩机组主站控制系统中。变频控制系统与PLC之间信号的传递方式除通讯控制以及重要控制信号(如启动、停车、转速设定等)采用硬线连接外,其余所有信号(包括所有必要的AI、AO、DI、DO)均应采用采用PROFIBUS/DP通讯协议与用户主站plc进行通讯。系统如图7所示。
变频装置作为电机起动调速控制装置,为了保证压缩机组和电机运行,需要对高压配电系统进行保护,涉及的电气设备分三个部分:(1)高压馈线开关柜(供电)综合保护装置;(2)压缩机组和电机设备保护;(3)中压变频装置自身保护。
所有的报警和跳闸信号按照时间由VSDS系统的HMI人机界面记录和显示并可查询。保护和报警的检测、判断、执行分别由独立的综合保护装置、PLC系统、变频装置主控制器(KC)完成。

图7 控制系统整体架构图
3.4风道导出冷却方案
由于设备工作元件对环境的要求,干式变压器本体工作环境温度不得高于65℃(极限温度不高于80℃)、IGBT功率单元散热器的工作环境温度不得高于40℃(极限温度不高于55℃)。为了设备能长期稳定和可靠的工作,需要对设备安装运行的环境进行通风或冷却来保证这个运行环境温度低于上述范围。风道导出室外通风方式示意图见图8。

图8 导出风道示意图
变压器与变频装置分别安装在单独的电气室。变频器与变压器各自的热量分别处理,分别通过各自柜顶风机通过风道将设备工作的热量导到室外,来维持电气室的环境温度不因设备运行热量积聚而升高,在进风口加装滤尘滤除进风以使进入空气干净。
各柜内设有温度和风量传感器,将传感器检测信号接入VSDS控制系统对冷却系统进行预报警提醒和报警控制。
3.5 输入隔离变压器防浪涌措施
为避免9MVA隔离变压器在10kV高压上电时过大的合闸浪涌冲击,采用选相位合闸法。其原理图如下图9所示。合闸励磁涌流方案特点:在此变压器副边配置充电绕组先预充电,然后选择高压相位控制一次10kV高压合闸。

图9 选相位合闸法抑制励磁涌流
隔离变压器副边设计有380V预充电绕组,经接触器KM1、限流电阻R、接触器KM2与用户380V电源相连对VSDS变频器进行预充电,通过此过程给各功率单元直流电容预充电。
当功率单元直流侧电压充电到额定电压的80%以上时,变压器励磁防浪涌控制系统控制闭合断路器QF相位点合闸,同时时由于变压器内部已经建立了磁场,变压器原边和电网电压差值较小,在变压器上电时会减小浪涌冲击,共同起动抑制变压器合闸浪涌的作用,同时使合闸时10kV电压降得到有效抑制。
4 压缩机变频驱动技术特点
4.1实现压缩机软启动
系统启动电流控制在额定电流一下,对电网无任何冲击,不会因启动时导致电网压降下降影响其他设备运行。对负载无机械冲击,延长机械设备使用寿命,减少维护量。并且实现在37Hz以下60s穿越,启动平稳,迅速。

图10 变频器带载启动电流有效值波形

图11 变频器带载启动转速跟随波形
从图10和图11中可以看出,变频器拖动电机带载启动电流为额定电流的0.5倍,转速跟随平稳。转速达到给定转速后,电流稳定,转速稳定。
4.2 快速有效避免喘振
不同结构尺寸的离心压缩机在某一个固定转速下,对应一个最高的工作压力下的一个最低流量。如果流量不变,离心压缩机出口的压力继续升高,或压力不变,流量继续减少,压缩机就会产生喘振。喘振是一种非正常工况下的振动,对于压缩机会产生严重的危害。
发生喘振时,压缩机机组开始强烈振动,同时伴随异常的吼叫声,呈现周期性地变化;导致与压缩机机壳相连接的输出管线随之振动;同时,进口管线上的压力表指针也出现大幅度摆动;出口止回阀处发生周期性的开关撞击声响;主电动机的电流表指针发生大幅度的摆动;在操作仪表中的流量表等也发生大幅度的摆动。

图12 1120、1200转/分喘振测试波形
图12从上到下依次为转速曲线、变频器输出电流曲线、变频器输出电压曲线,可以看出在喘振发生时,电机转速能够快速依据负载变化情况进行调整,避免喘振,动态控制性能良好。
4.3控制精度高
变频器采用矢量控制方式,可保证很高的精度和很准确的动态转速。整个系统采用DSP微处理器,通过检测电机电压和电流,对电机的磁通和转矩进行实时解耦控制。根据负载情况迅速做出调整,响应迅速,输出精度高。
表1 变频器运行状态数据

表1为变频器带载运行状态数据,从中可以看出,变频器控制电机转速精度在0.2%之内,电流、电压随转速(负载)升高稳定增加。
4.4 操作方便
变频器通过西门子300系列PLC与后台实现通讯,可以方便地对变频器进行操作,实时监控设备的运行状态。通过闭环控制,变频器自动调节转速,大大减小了操作人员的劳动强度。
5 结束语
应用高压变频器以来,系统的能耗大大下降,节能效果非常显著。同时,与空压机系统配合调节良好,压力控制稳定,设备运行方式合理,改善控制品质,满足不同负荷下的工艺要求。工程开创了国产大功率高压变频器在管道输气大功率压缩机的应用先河,为核心设备国产化迈出了坚实的一步。


相关文章:




